Меню

(063)568 0378
(099)568 0378
(067)568 0375

(044)501 9027

(044)501 9068
(044)501 8995

- Каталог

Каталог

Пластики и электроизоляционные материалы
  Винипласт, пластикат, пленка КПО
  Текстолит, стеклотекстолит, гетинакс
  Фторопласт Ф-4,Ф-4Д,Ф-4К20,Ф-4УВ15,Ф-4УВ20,АФГМ,АФГ-80ВС,PTFE
  Фум - лента, Фум -жгут
  Оргстекло, акрил, поликарбонат, ПЭТ
  Конструкционные пластики-капролон,капрон, найлон,лавсан,полиамид,полиацеталь,полиэтилен, лавсан ПЭТ
  Конструкционные пластики фирмы QUADRANT Бельгия - (ERTALON, NYLATRON, ERTALYTE, ERTACETAL, CESTILENE)
  Конструкционные пластики фирмы Omnia Plastika (Италия).
  Полиамид, полиэтилен, поливинилхлорид, полиэтилентерефталат
  Полипропилен листовой
  Полистирол, пластик АБС
  Электрокартон, пленкоэлектрокартон, фибра
  Синтофлекс, изофлекс, имидофлекс
  Лента слюдяная, полиимидная, стекломикалента
  Ленты электроизоляционные
  Трубки ПВХ,ТЛВ,ТКР,ТУТ,ПА,ПЕ,Ф-4Д,силиконовые,шнур-чулок
  Лаки, эмали электроизоляционные
  Лакоткани, лаварил
  Стеклолакоткани
  Пленка лавсановая ПЭТ-Э
  Микалекс, миканит, слюдопласт, слюдинит
  Конструкционные пластики фирмы ROCHLING, Чехия - (POLYSTONE, TROVIDUR, PE, PP, PVC, PVDF)

Асботехнические,резинотехнические изделия
  Асбокартон, асбошнур, асботкань
  Керамическая ткань, шнур
  Набивка сальниковая, каболка
  Паронит, электронит
  Техпластина (МБС, ТМКЩ), резина
  Пластина силиконовая
  Полиуретан (лист, стержень, втулка, заготовка)
  Рукав напорный, напорно-всасывающий, всасывающий
  АЦЕИД - плита асбоцементная дугостойкая
  Лента тормозная ЛАТ-2, ЛАРТ, ЭМ-1, ЭМ-2
  Смазка силиконовая КОС, герметик ЭКП
  Пистолет покрасочный (краскораспылитель)
  Пленка ПЭ, ПВХ, армированая

Провод, кабель, гофротрута, металлорукав, каналы
  Провод монтажный НВ-1, НВ-3 ,НВ-4, НВм, НВэ
  Провод монтажный МГШВ, МГШВэ, МГШВэв
  Провод бортовой БПВЛ, БПВЛэ, БПДО, БПДОэ
  Кабель монтажный МКЭШ, МКШ
  Провод термостойкий ПАЛ ,ПАЛО, РКГМ, ПВКВ, ПРКА, ПТЛ
  Провод термопарный ПТВ, ПТП, ПТГВ, СФКЭ
  Провод в силиконовой оболочке SiD, SiF, KSiF, SiF/GL
  Провод щеточный ПЩ, прогревочный ПНСВ, полевой П-274М
  Провод ПВ-1, ПВ-3, ПВС, ШВП, ШВВП, АПВ, АППВ, ППВ
  Эмаль-провод ПЭТВ-2, ПЭТ-155, ПЭТД-200
  Плетенка-экран ПМЛ
  Канал кабельный,гофротруба,металлорукав
  Провод терморадиационностойкий МПО, МПОэ, МЛТП, МЛТПэ, МСТП, МСТПэ, МЛП, МЛПэ, МПМ, МПМэ
  Провод монтажный в фторопластовой оболочке МГТФ, МГТФэ, МПО 33-11, МП 37-12, МП 16-11, ПВМФО
  Провода обмоточные ПЭЛШО, ПЭШО , ЛЭШО , ЛЭПКО , ПЭМС , ПЭММ , ПЭШОММ , ПЭК , ПЭШОК , ПЭНХ , ПЭВ , ПЭЛ , ПЭМ

ПОЛИПРОПИЛЕНОВАЯ ПРОВОЛОКА СВАРОЧНАЯ.

Полипропиленовая проволока сварочная представляет собой стрержни простого или сложного
профиля и предназначена для использования в качестве присадочного материала при сварке
изделий из листов и различных профилей из полипропилена.

Температурный диапазон эксплуатации от 0*С до + 90*С.

Форма поперечного сечения проволоки

- круг,диаметром 2,3,4,5 мм,

- трехгранник с углом 70,80,90 градусов,

- овал 5х3мм,

- тройник 90 градусов.

Цвет проволоки – серый,черный,белый,натуральный.

Стандартная упаковка – 3 кг, 5 кг, 10 кг.

Сварка термопластов горячим газом
Сварка горячим газом чаще всего выполняется вручную, и поэтому требует профессиональных навыков. В качестве теплоносителя, как правило, выступает воздух, но применяются и инертные газы (азот, углекислый газ). В случае применения инертных газов прочность сварочного шва более высока.
Метод сварки горячим газом основан на разогреве основного (свариваемого) материала и присадки. В качестве присадки применяется пруток того же материала, что и свариваемый. Пруток подгоняется по форме шва (трехгранный, круглый, сердцеобразный и т.д.) Здесь имеет значение квалификация сварщика и его выбор формы шва и формы присадочного прутка. При правильном выборе указанных паратмеров снижается вероятность дефектов и увеличивается скорость сварки.
На практике часто бывает, что опытные сварщики сами модифицируют газовые горелки и для конкретной работы применяют подходящую горелку.
Сварка термопластов грячим газом (воздухом) Газовая горелка для сварки горячим воздухом
Принцип сварки горячим газом:

1- присадочный пруток (проволока)
2- прижимная деталь (язычок)
3- свариваемая деталь

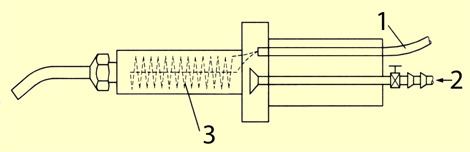
Устройство для ручной сварки (газовая горелка):

1. Электрический кабель
2. Сварочный газ
3. Сменный эл. нагревательный элемент
Экструзионная сварка термопластов горячим газом
Экструзионная сварка термопластов горячим газом Принцип экструзионной сварки с горячим газом:

1. нагреваемый шланг для подачи расплава
2. шланг подачи газа
3. камера наргева газа
4. сварочный башмак
5. нагнетатель газа
6. экструдер
При экструзионной сварке горячим газом присадочный материал в расплавленном состоянии непрерывно подается из экструдера в нагретый горячим газом шов, где равномерно распределяется и прижимается при помощи скользящего башмака. При сваривании в нахлест усилие передается валиком.
При такой сварке существует опасность перегрева материала в экструдере (при временной приостановке сварочных работ). Поэтому такая технология выгодна при больших обьемах сварочных работ (большой длительности сварочных швов); эту технологию выгодно использовать при плохом доступе к сварочным швам.
Часто такую технологию используют для сварки труб большого диаметра или, например, для сварки объемных деталей (контейнеров, баков, ванн).

Курсы валют
Курсы валют
Курсы валют
Курсы валют